超聲波3D花邊機帶動輪的調較
發布者:益百機械 發布時間:2021/3/29 15:45:00
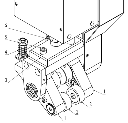
超聲波3D花邊機帶動輪的調校:
1.帶動輪2安裝在杠桿座1。
2.調較壓縮彈簧4力度,可以調節帶動輪2對布料壓緊力度。
3.鎖板3與升降軸6連接。
4.松開螺絲5,帶動輪整組可以向左或向右位移。

文章由:超聲波花邊機 http://www.hongtengkeji.cc/ 佛山市益百機械制造有限公司
相關新聞
- [2021.03.03]超聲波花邊機(3D)
- [2021.05.07]超聲波打棗機功能及應用
- [2021.01.26]超聲波花邊機安裝注意事項
- [2021.05.07]超聲波切帶機使用說明書
- [2021.03.02]超聲波焊切機之切帶機搬運須知
- [2021.05.06]常用超聲波焊頭材料有哪些
- [2021.01.22]超聲波焊切機喜獲實用新型專利證書
- [2021.05.06]超聲波花邊機結構
- [2021.03.02]超聲波焊切機之切帶機的安裝說明
- [2021.04.30]重要!超聲波模具調試工作
- [2021.01.26]超聲波花邊機花輪壓力調整方法
- [2021.03.11]超聲波花邊機發振箱的安裝
- [2021.04.30]使用超聲波塑料焊接機的過程中容易忽略的秘…
- [2021.03.02]超聲波焊切機之切帶機功能及規格
- [2021.06.02]超聲波設備隨機工具及配件一覽表
- [2021.04.29]超聲波切布機影響熔接效果的因素
- [2021.03.10]超聲波焊切機模具的檢查
- [2021.06.02]15K超聲波塑焊機音波檢驗程序
- [2021.04.29]超聲波切布機安裝說明
- [2021.04.28]超聲波下滾機操作程序






