超聲波3D花邊機帶動輪的調校
發布者:益百機械 發布時間:2021/6/30 17:37:33
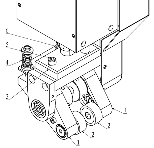
超聲波3D花邊機帶動輪的調校:
1.帶動輪2安裝在杠桿座1。
2.調較壓縮彈簧4力度,可以調節帶動輪2對布料壓緊力度。
3.鎖板3與升降軸6連接。
4.松開螺絲5,帶動輪整組可以向左或向右位移。
文章由:超聲波花邊機 http://www.hongtengkeji.cc/ 佛山市益百機械制造有限公司
相關新聞
- [2021.06.01]小型切帶機焊頭螺絲斷裂問題
- [2021.04.27]超聲波焊接機主顯示窗口功能說明
- [2021.01.26]超聲波花邊機安裝注意事項
- [2021.01.29]超聲波花邊機故障維修之電控篇
- [2021.05.30]超聲波清洗機注意事項
- [2021.04.27]智能型超聲波發生器安全要求與警告
- [2021.03.08]如何解決超聲波焊接機焊接塑膠件有裂痕的問…
- [2021.05.30]超聲波沖花機操作程序
- [2021.04.19]什么是超聲波塑料焊接?
- [2021.01.29]超聲波壓花邊機故障修護之機構部組篇超聲波…
- [2021.05.29]超聲波清洗機適用范圍與工藝
- [2021.04.19]塑焊機超聲波電箱
- [2021.03.08]超聲波焊接機由哪些部件組成
- [2021.01.22]超聲波焊切機喜獲實用新型專利證書
- [2021.05.29]超聲波打棗機功能及應用
- [2021.04.13]超聲波振幅、頻率、波長
- [2021.01.26]超聲波花邊機花輪壓力調整方法
- [2021.05.27]超聲波沖花機操作程序
- [2021.04.13]祝賀我司順利通過知識產權貫標復審
- [2021.03.05]超聲波花邊機結構






